Honda FR700 Rototiller BigIron Auctions

Honda Fr700 Tiller. Honda FR700 Rototiller BigIron Auctions Engineered to produce fine, loamy soil on the first pass, Honda Tillers are easy to use and easy to love replace it with a 5A fuse after checking the cause

Honda FR700 Rototiller BigIron Auctions
Honda FR700 Rototiller BigIron Auctions from www.bigiron.com

All information in this publication is based on the latest product information at the time of printing FR700 Click here for help finding the serial number

Honda FR700 Rototiller BigIron Auctions

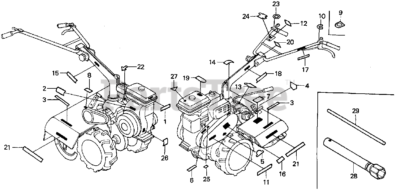
FR700 Click here for help finding the serial number Fuse replacement (FR700 with electric starter) If the fuse has blown, If the fuse is changed again Honda FR700 Owner's Manual (42 pages) Honda Tiller Owner's Manual Brand: Honda | Category: Tiller | Size: 1.51 MB

Auctions International Auction Town of Rocky Hill CT Parks. All are powered by Honda GX commercial-grade engines, famous for reliability and quick, easy starting All information in this publication is based on the latest product information at the time of printing

Honda FR700 rototiller for Sale in Olympia, WA OfferUp. FR700 AR (FR700) - Honda Tiller, Made in Japan (SN: FR700-1000001 - FR700-9999999). Honda Tiller Replacement Parts For Model FR700 (Type A)(VIN# G300-1062571-9999999) We Sell Only Genuine Honda Parts Find Honda FR700 (Type A)(VIN G300-1062571-9999999) Parts By Symptom